Устройство и принцип работы
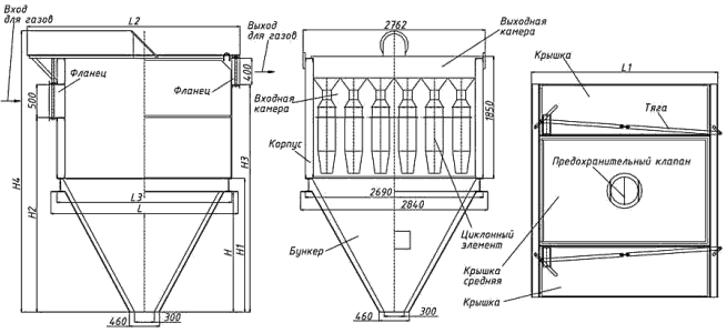
Циклон БЦ-512-Р-2-(6х7) — это конструкция из циклонных элементов, разделенных на секции и собранных в едином корпусе. Для обеспечения безопасности в случае нестабильного давления внутри циклона, на верхней части агрегата имеется предохранительный клапан. При небольших нагрузках, нет необходимости в работе сразу нескольких секций, поэтому есть возможность отключить лишние.
Принцип работы циклона БЦ-512-Р-2-(6х7) предельно прост: газ единовременно заходит в секции, поступает в циклонные элементы, где его поток закручивается завихрителем. Под действием центробежной силы твердые частицы прилипают к стенкам циклона и, проводимые газовыми потоками, падают в бункер для сбора. При вихревом движении газов образуется пониженное давление, куда и движется дым, но уже без золы. После чего, дым поступает в камеру, откуда удаляется дымососом.
Особенности и преимущества
- Высокий КПД даже при переменных нагрузках;
- Безопасность использования за счет предохранительного клапана;
- Эффективная очистка воздуха, поскольку механизм ориентирован на сбор определенных частиц;
- Быстрая установка позволяет сэкономить время и средства при монтаже.
Условное обозначение
Циклон БЦ-512-Р-2-(6х7), где:
- БЦ — батарейный циклон;
- 512 — внутренний диаметр цилиндра;
- 6х7 — количество элементов в секциях.
Размещение и установка
Комплект Циклона БЦ-512-Р-2-(6х7) состоит из блока циклонов и блока бункера, которые требуют сборки. В дымовом тракте агрегат устанавливается перед дымососом.
Эксплуатация и техническое обслуживание
Во время эксплуатации циклона БЦ-512-Р-2-(6х7) важно следить за сопротивлением и поддерживать его путем отключения какой-либо секции. Недопустимо попадание воздуха снаружи устройства и скопления золы в бункере. При соблюдении графика плановых ремонтных работ и соблюдении всех правил, прибор прослужит долго и эффективно.
Комплектация
В комплект обязательной поставки циклонов БЦ-512-Р-2-(6х7) входит бункер и блок циклонный в сборе.


